벽돌 블록 기계 재료

PLD 시리즈 배칭 머신


건설, 도로 및 교량 프로젝트용


벽돌 블록 기계 재료용 PLD800 모델


습한 환경을 위한 중앙 배출


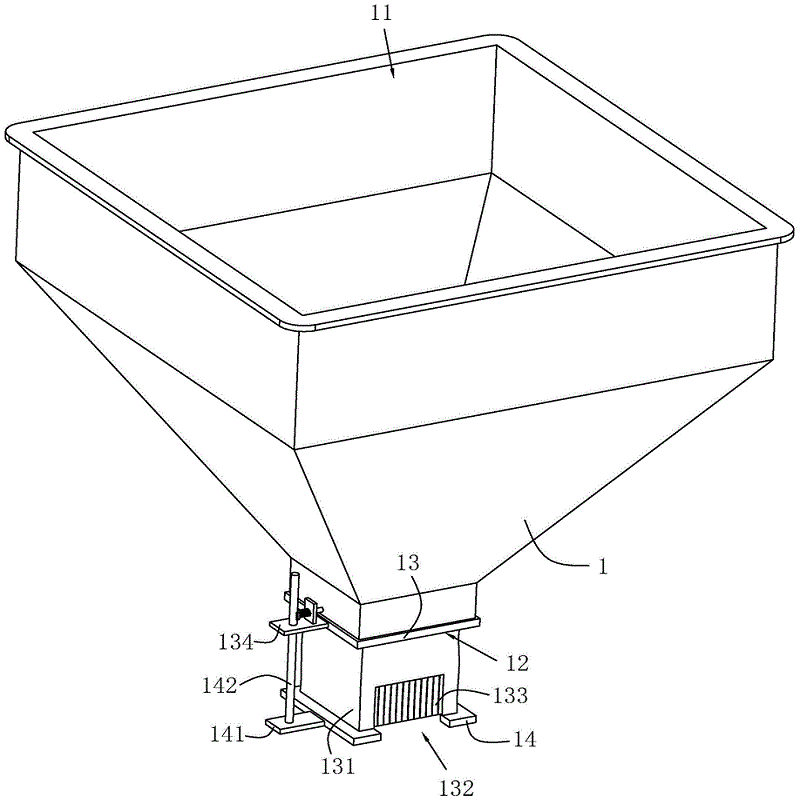
특허받은 스윙 스크린(장수명)


정확한 무게 측정을 통한 벨트 배출


제품 세부 정보

1. 정제된 원료 사일로 관리

각 사일로를 특정 원자재에 할당하여 서로 다른 재료 간의 교차 오염을 방지하는 구획화된 저장 설계가 채택되었습니다.

사일로에 남아 있는 원자재를 실시간으로 모니터링하기 위해 재료 수준 모니터링 장치(예: 레이더 레벨 게이지)를 설치하여 적절한 보충을 보장하고 과충전을 방지합니다.

벽돌 블록 기계 재료

2. 정량적 사료 공급 제어

각 사일로 배출구에는 독립적인 정량 공급 장치(스크류 컨베이어나 벨트 스케일 등)가 장착되어 단일 원료의 정밀한 계량을 달성합니다.

폐루프 제어 시스템은 로드셀을 사용하여 실제 이송량에 대한 피드백을 제공합니다. 장치 속도는 설정값과 비교하여 자동으로 조정되므로 비율 오차는 ±0.5% 이내로 유지됩니다.

3. 다중 재료 골재 이송

각 정량 공급 장치에서 출력된 원료는 수렴형 벨트 컨베이어 또는 스크레이퍼 컨베이어를 통해 혼합 장비로 이송됩니다. 이송 과정에서는 원료의 축적이나 파손을 방지하기 위해 균일한 이송 속도가 유지됩니다.

일련번호

이름

사양

수량

단위

1

PLD1200

원자재 보관창고

4m³

2

개인

흔들리는 화면

2800*2500

1

개인

저울통

0.8㎡

1

개인

감지기

ZMLBF-1000

3

개인

모터

2.2KW

2

스크리 셰이커 모터

2.2KW

1

컨베이어 벨트

B500

3

조각

액자

강철 구조물

1

세트


메시지를 남겨 두시오

관련된 상품

x

인기 제품

x
x